Opis
Jedinice
Each
Boja/Završna obrada
Chrome
Značajke
Lockable
Materijal
Chrome Vanadium Alloy Steel
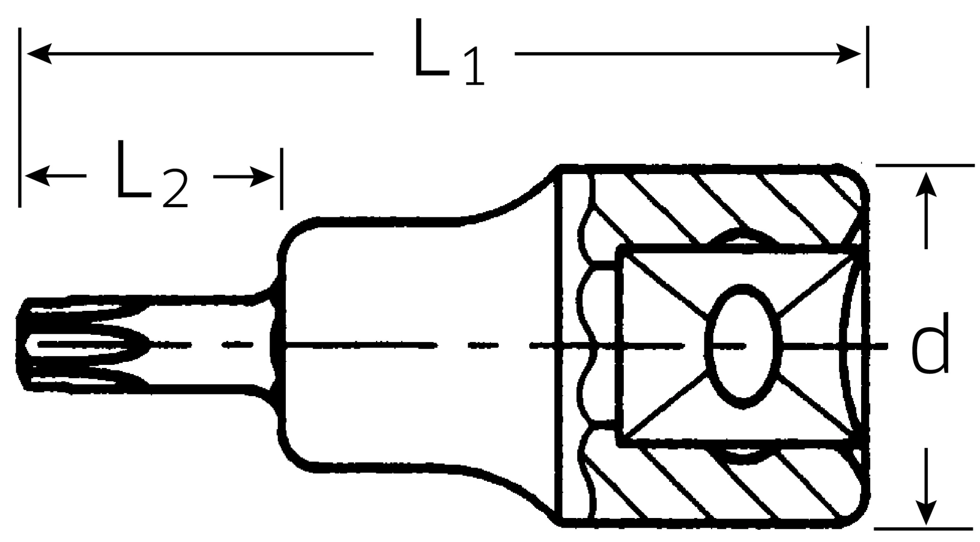
Veličina pogona
3/8"
Tip
Socket
ime proizvoda
Screwdriver
Primjena
Tool Box, Garage
Marka
STAHLWILLE
Broj dijela dobavljača
02100010






